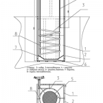
По запросу крупнейшего горно-металлургического комбината Казахстана нами был разработан проект мешалки для сорбционных чанов линии по производству драгоценных металлов. Исходные данные Общие требования Производство Металлургическая промышленность Технологическое назначение устройства Интенсификация осаждения металла в сорбционном чане Параметры мешалки Перемешиваемая среда Пульпа с 40% содержанием твёрдых веществ (размер частиц 0,074мм) Режим работы Низкая частота вращения рабочего органа […]


