По запросу нефтедобывающей компании Казахстана сотрудниками нашего коллектива была разработана ленточная мешалка для смесителя буровых растворов.
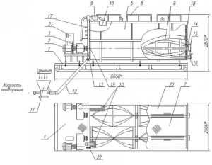
1 — сани; 2 — электродвигатель; 3 — редуктор; 4 — переходная площадка обслуживания; 5 — резервуар; б — мешалка четырехлопастная с противоположно направленными витками; 7 — площадка обслуживания верхняя; 8 — ограждение перильное; 9 — гидропневматический смеситель; 10 — сетка-корзина; 11 — гидронапорный смеситель с воронкой; 12 — рукав напорный; 13 — трубопровод наливной; 14 — подшипник; 15 — тавотница; 16 — приемное устройство с заслонкой поворотной; 17 — лестница; 18 — мерная линейка; 19 — устройство сальниковое; 20 — крышка откидная; 21 — пульт управления; 22- поплавковый уровнемер
Общие требования
| Производство | подготовка буровых, цементных, тампонажных растворов для нефтегазовой отрасли |
| Технологическое назначение устройства | перемешивание раствора |
|
Параметры среды |
|
| Плотность перемешиваемой жидкости, гр/см3 | 2,5 |
| Особенности перемешиваемой среды | буровой раствор, максимальная плотность 2500 кг/м3 |
|
Параметры смесителя |
|
| Габариты, мм | 6650х2870х2500 |
| Тип мешалки | ленточная |
| Тип привода | электродвигатель с редуктором |
Параметры разработанной модели ленточной мешалки
